Описание
Характеристики
Отзывы
Описание
Если Вы хотите заказать изделие из нержавеющей стали, замените первые две цифры артикула с 60.... на 61....
Характеристики
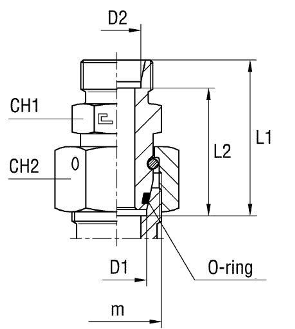
| Артикул | Бренд | CH1 | CH2 | CH3 | L1 (мм) | L2 (мм) | L3 | Ø трубы D1 | Ø трубы D2 | WP (bar) | Исполнение трубного соединения | резьба m D1 | резьба m D2 | Резьба ТС 1 | Резьба ТС 2 | серия | Стандарт ТС | Тип трубного соединения |
| 605431.1 | CAST | 24 | 30 | 27 | 47,5 | 39,5 | 57,5 | 16 | 14 | 630 | прямой | 24x1.5 | 22x1.5 | M | M | S | Соединения 24° DIN 2353 | проходной/адаптер |
Характеристики
Бренд
CAST
D трубы M1 D1
16
WP (bar) рабочее давление
630
Исполнение трубного соединения
прямой
Размер CH1
24
Размер CH2
30
Размер L1 (мм)
47,5
Размер L2 (мм)
39,5
Резьба ТС 1
M
Резьба ТС 2
M
Серия
S
Стандарт трубных соединений
Соединения 24° DIN 2353
Тип трубного соединения
проходной/адаптер
Размер L3
57,5
Размер резьбы 1
24x1.5
Размер CH3
27
D трубы M2 D2
14
Размер резьбы 2
22x1.5
Все характеристики
Отзывы
Отзывов еще никто не оставлял
