Описание
Характеристики
Отзывы
Описание
Если Вы хотите заказать изделие из нержавеющей стали, замените первые две цифры артикула с 60.... на 61....
Характеристики
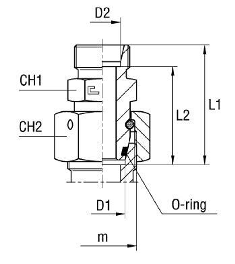
| Артикул | Бренд | CH1 | CH2 | CH3 | L1 (мм) | L2 (мм) | L3 | Ø трубы D1 | Ø трубы D2 | WP (bar) | Исполнение трубного соединения | резьба m D1 | резьба m D2 | Резьба ТС 1 | Резьба ТС 2 | серия | Стандарт ТС | Тип трубного соединения |
| 605315.1 | CAST | 32 | 41 | 17 | 39,5 | 32,5 | 47,5 | 28 | 8 | 250 | прямой | 36x2 | 14X1.5 | M | M | L | Соединения 24° DIN 2353 | проходной/адаптер |
Характеристики
Бренд
CAST
D трубы M1 D1
28
WP (bar) рабочее давление
250
Исполнение трубного соединения
прямой
Размер CH1
32
Размер CH2
41
Размер L1 (мм)
39,5
Размер L2 (мм)
32,5
Резьба ТС 1
M
Резьба ТС 2
M
Серия
L
Стандарт трубных соединений
Соединения 24° DIN 2353
Тип трубного соединения
проходной/адаптер
Размер L3
47,5
Размер резьбы 1
36x2
Размер CH3
17
D трубы M2 D2
8
Размер резьбы 2
14X1.5
Все характеристики
Отзывы
Отзывов еще никто не оставлял
