Описание
Характеристики
Отзывы
Описание
Если Вы хотите заказать изделие из нержавеющей стали, замените первые две цифры артикула с 60... на 61...
Характеристики
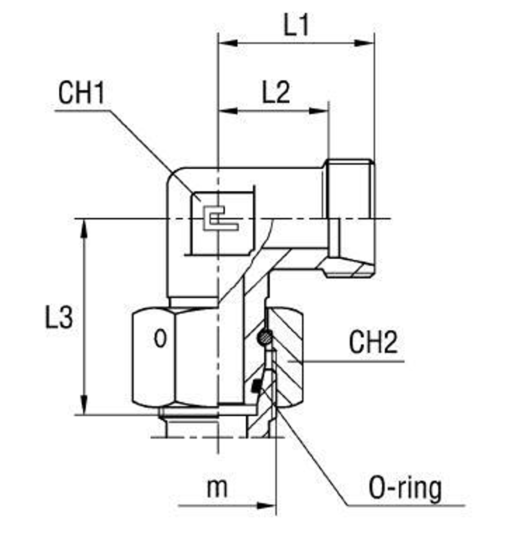
| Артикул | Бренд | CH1 | CH2 | CH3 | L1 (мм) | L2 (мм) | L3 | L4 | Ø трубы D1 | Ø трубы D2 | WP (bar) | Исполнение трубного соединения | резьба m D1 | резьба m D2 | Резьба ТС 1 | Резьба ТС 2 | серия | Стандарт ТС | Тип трубного соединения |
| 604214.1 | CAST | 12 | 17 | 17 | 23 | 16 | 27 | 31 | 6 | 6 | 800 | 90 град. | 14x1.5 | 14x1.5 | M | M | S | Соединения 24° DIN 2353 | проходной/адаптер |
Характеристики
Бренд
CAST
D трубы M1 D1
6
WP (bar) рабочее давление
800
Исполнение трубного соединения
90 град.
Размер CH1
12
Размер CH2
17
Размер L1 (мм)
23
Размер L2 (мм)
16
Резьба ТС 1
M
Резьба ТС 2
M
Серия
S
Стандарт трубных соединений
Соединения 24° DIN 2353
Тип трубного соединения
проходной/адаптер
Размер L3
27
Размер резьбы 1
14x1.5
Размер L4
31
Размер CH3
17
D трубы M2 D2
6
Размер резьбы 2
14x1.5
Все характеристики
Отзывы
Отзывов еще никто не оставлял
