Описание
Характеристики
Отзывы
Описание
Если Вы хотите заказать изделие из нержавеющей стали, замените первые две цифры артикула с 60... на 61...
Характеристики
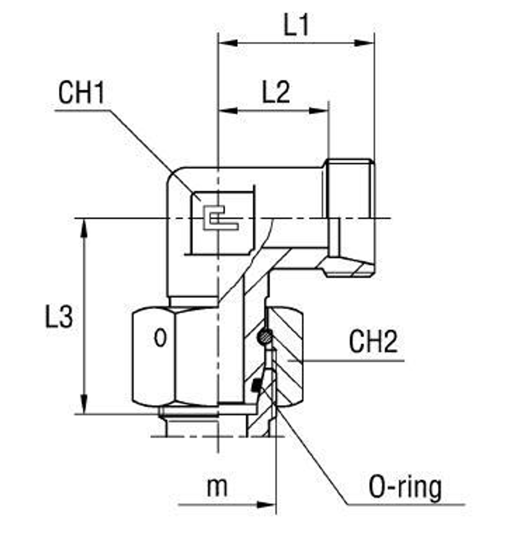
| Артикул | Бренд | CH1 | CH2 | CH3 | L1 (мм) | L2 (мм) | L3 | L4 | Ø трубы D1 | Ø трубы D2 | WP (bar) | Исполнение трубного соединения | резьба m D1 | резьба m D2 | Резьба ТС 1 | Резьба ТС 2 | серия | Стандарт ТС | Тип трубного соединения |
| 604223.1 | CAST | 50 | 60 | 60 | 57 | 41 | 63 | 72 | 38 | 38 | 420 | 90 град. | 52x2 | 52x2 | M | M | S | Соединения 24° DIN 2353 | проходной/адаптер |
Характеристики
Бренд
CAST
D трубы M1 D1
38
WP (bar) рабочее давление
420
Исполнение трубного соединения
90 град.
Размер CH1
50
Размер CH2
60
Размер L1 (мм)
57
Размер L2 (мм)
41
Резьба ТС 1
M
Резьба ТС 2
M
Серия
S
Стандарт трубных соединений
Соединения 24° DIN 2353
Тип трубного соединения
проходной/адаптер
Размер L3
63
Размер резьбы 1
52x2
Размер L4
72
Размер CH3
60
D трубы M2 D2
38
Размер резьбы 2
52x2
Все характеристики
Отзывы
Отзывов еще никто не оставлял
