Описание
Характеристики
Отзывы
Описание
Если Вы хотите заказать изделие из нержавеющей стали, замените первые две цифры артикула с 60... на 61...
Характеристики
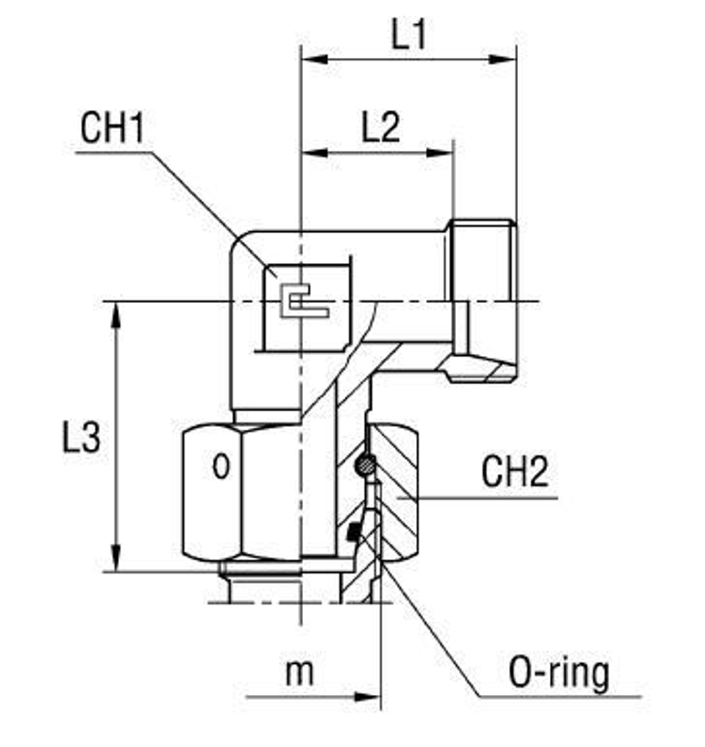
| Артикул | Бренд | CH1 | CH2 | CH3 | L1 (мм) | L2 (мм) | L3 | L4 | Ø трубы D1 | Ø трубы D2 | WP (bar) | Исполнение трубного соединения | резьба m D1 | резьба m D2 | Резьба ТС 1 | Резьба ТС 2 | серия | Стандарт ТС | Тип трубного соединения |
| 604222.1 | CAST | 41 | 50 | 50 | 49 | 35,5 | 55,5 | 62 | 30 | 30 | 420 | 90 град. | 42x2 | 42x2 | M | M | S | Соединения 24° DIN 2353 | проходной/адаптер |
Характеристики
Бренд
CAST
D трубы M1 D1
30
WP (bar) рабочее давление
420
Исполнение трубного соединения
90 град.
Размер CH1
41
Размер CH2
50
Размер L1 (мм)
49
Размер L2 (мм)
35,5
Резьба ТС 1
M
Резьба ТС 2
M
Серия
S
Стандарт трубных соединений
Соединения 24° DIN 2353
Тип трубного соединения
проходной/адаптер
Размер L3
55,5
Размер резьбы 1
42x2
Размер L4
62
Размер CH3
50
D трубы M2 D2
30
Размер резьбы 2
42x2
Все характеристики
Отзывы
Отзывов еще никто не оставлял
