Описание
Характеристики
Отзывы
Описание
Если Вы хотите заказать фитинг из нержавеющей стали AISI 316, замените первые две цифры артикула с 10.... на 11....
Если Вы хотите заказать фитинг из нержавеющей стали AISI 316 с гайкой из нержавеющей стали AISI 304, замените первые две цифры артикула с 10.... на 14....
Если Вы хотите заказать фитинг из нержавеющей стали AISI 316 с гайкой из нержавеющей стали AISI 304, замените первые две цифры артикула с 10.... на 14....
Характеристики
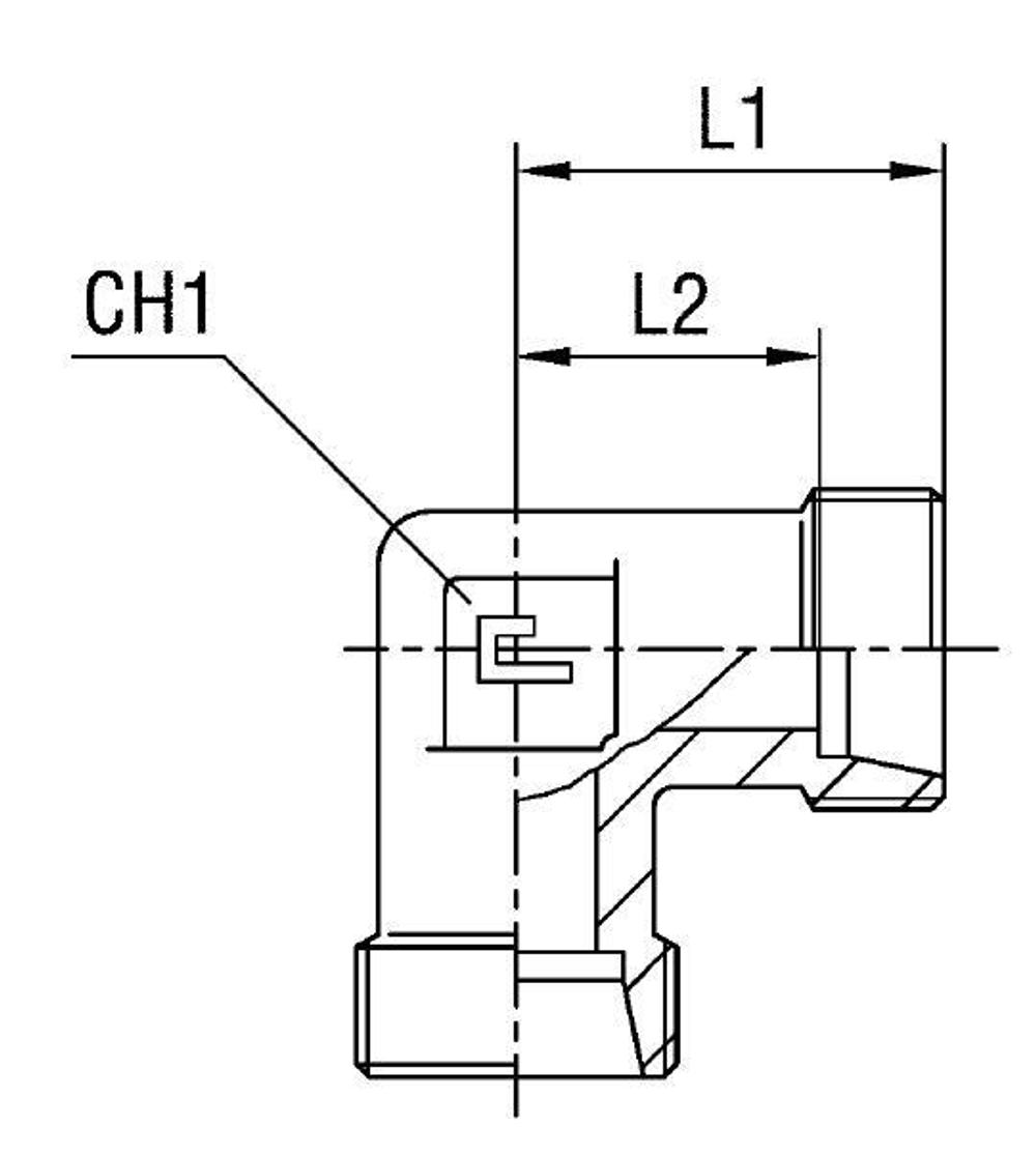
| Артикул | Бренд | CH1 | CH2 | L1 (мм) | L2 (мм) | L3 | Ø трубы D1 | WP (bar) | Исполнение трубного соединения | Резьба ТС 1 | Резьба ТС 2 | серия | Стандарт ТС | Тип трубного соединения |
| 103802.1 | CAST | 9 | 12 | 15 | 9,5 | 21 | 6 | 100 | 90 град. | M | M | LL | Соединения 24° DIN 2353 | проходной/адаптер |
Характеристики
Бренд
CAST
D трубы M1 D1
6
WP (bar) рабочее давление
100
Исполнение трубного соединения
90 град.
Размер CH1
9
Размер CH2
12
Размер L1 (мм)
15
Размер L2 (мм)
9,5
Резьба ТС 1
M
Резьба ТС 2
M
Серия
LL
Стандарт трубных соединений
Соединения 24° DIN 2353
Тип трубного соединения
проходной/адаптер
Размер L3
21
Все характеристики
Отзывы
Отзывов еще никто не оставлял
