Описание
Характеристики
Отзывы
Описание
Если Вы хотите заказать фитинг из нержавеющей стали AISI 316, замените первые две цифры артикула с 10.... на 11....
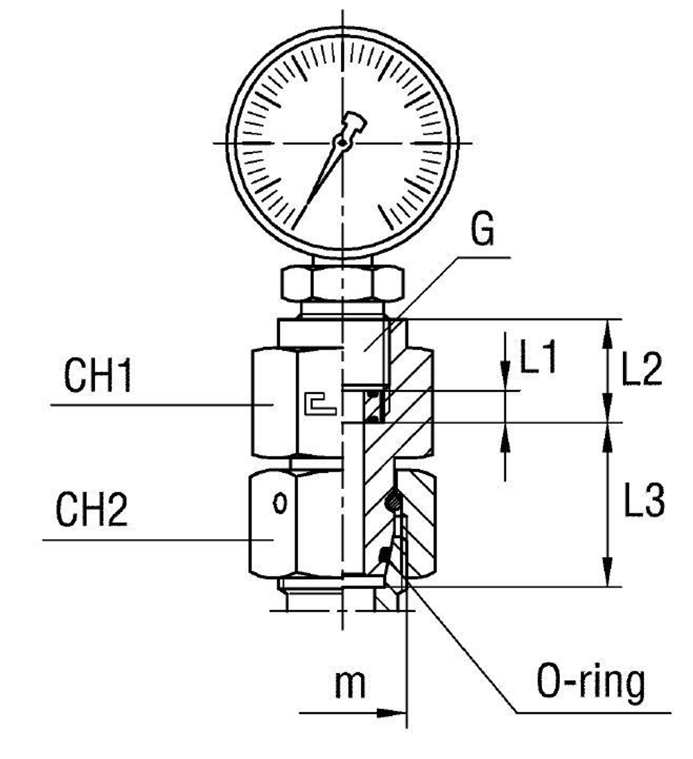
Изделие поставляется без манометра.
Изделие поставляется без манометра.
Характеристики
| Артикул | Бренд | CH1 | CH2 | L1 (мм) | L2 (мм) | L3 | Ø трубы D1 | WP (bar) | Исполнение трубного соединения | резьба G | резьба m D1 | Резьба ТС 1 | Резьба ТС 2 | серия | Стандарт ТС | Тип трубного соединения | Часть |
| 606007 | CAST | 19 | 22 | 4,5 | 14,5 | 22 | 12 | 315 | прямой | 1/4 | 18x1,5 | M | BSP | L | Соединения 24° DIN 2353 | для подключения изм. устройств | Изделия из углеродистой стали |
Характеристики
Бренд
CAST
D трубы M1 D1
12
WP (bar) рабочее давление
315
Исполнение трубного соединения
прямой
Размер CH1
19
Размер CH2
22
Размер L1 (мм)
4,5
Размер L2 (мм)
14,5
Размер резьбы 5
1/4
Резьба ТС 1
M
Резьба ТС 2
BSP
Серия
L
Стандарт трубных соединений
Соединения 24° DIN 2353
Тип трубного соединения
для подключения изм. устройств
Размер L3
22
Порядковый номер таблицы
Изделия из углеродистой стали
Размер резьбы 1
18x1,5
Все характеристики
Отзывы
Отзывов еще никто не оставлял
