Описание
Характеристики
Отзывы
Описание
SAE J516 - ISO 12151-5
Характеристики
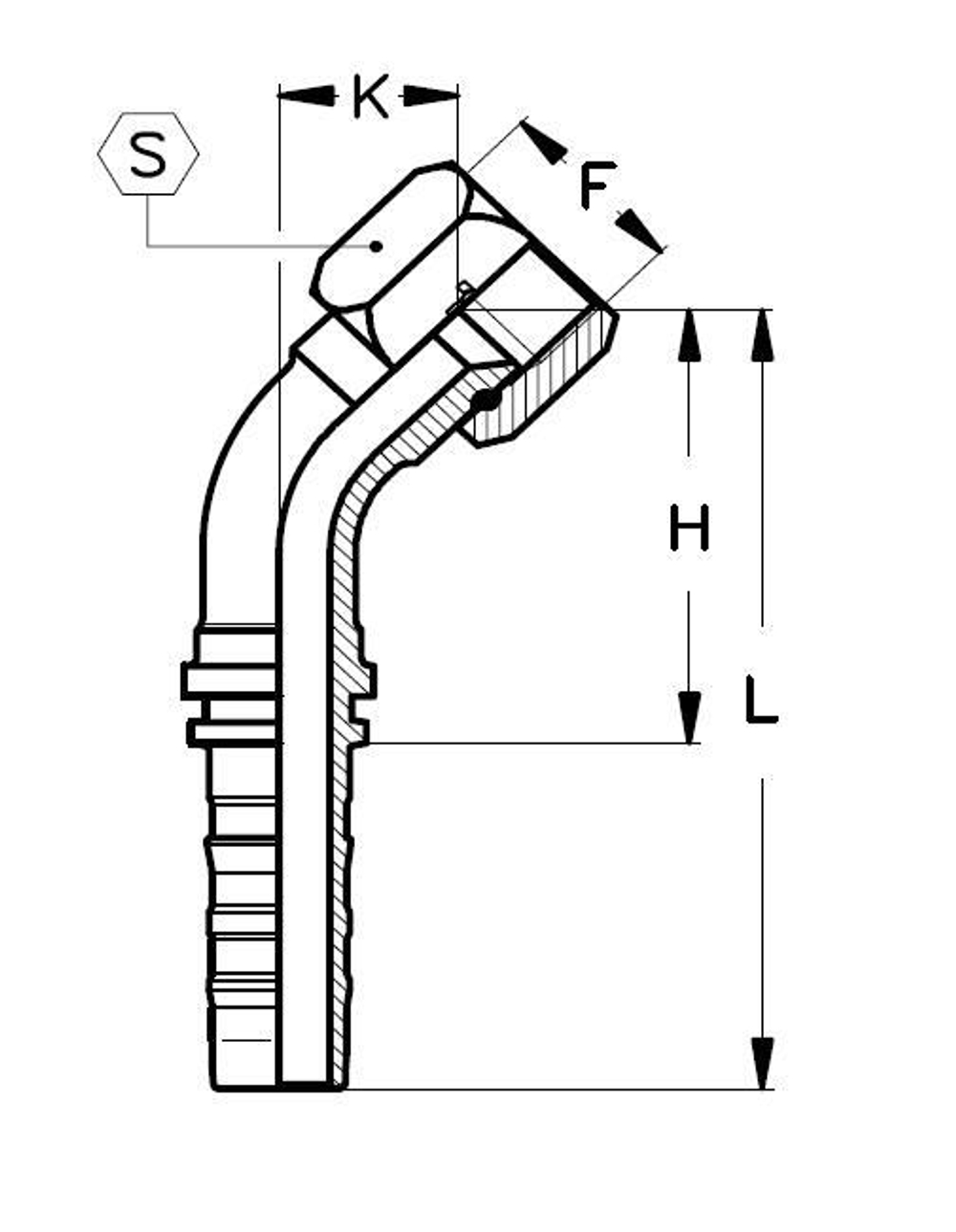
| Артикул | Бренд | DASH | DASH | DN | F | H | ID (дюйм) | K | L | S | WP (bar) | WP (psi) | Вид резьбы | Тип фитинга | Угол фитинга |
| CS2020FIS45 | TIEFFE | -20 | 20 | 31,5 | 1 5/8"-12 | 98 | 1.1/4 | 38 | 164 | 50 | 210 | 3 000 | Внутренняя | JIC | 45 град. |
Характеристики
Бренд
TIEFFE
WP (bar) рабочее давление
210
Вид резьбы фитинга для РВД
Внутренняя
Тип фитинга для РВД
JIC
Угол фитинга для РВД
45 град.
Размер H
98
ID (дюйм)
1.1/4
Размер S фитинги Тиеффе
50
Размер K фитинги Тиеффе
38
DN (услов внут диам рукава, фитингов)
31,5
Размер соедин DASH фитинги Тиеффе
20
DASH размер продукции (рукава, фитинги, TC)
-20
Размер L фитинги Тиеффе
164
WP (psi)
3 000
Размер соедин. F фитинги Тиеффе
1 5/8"-12
Все характеристики
Отзывы
Отзывов еще никто не оставлял
