Описание
Характеристики
Отзывы
Описание
Если Вы хотите заказать изделие из нержавеющей стали, замените первые две цифры артикула с 80.... на 81....
Характеристики
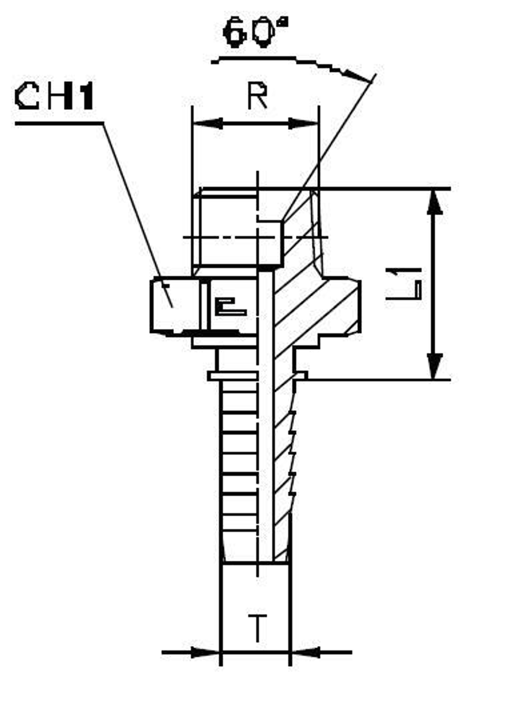
| Артикул | Бренд | CH1 | DASH | DN | G | ID (дюйм) | L1 | WP (bar) | Вид резьбы | Стандарт фитинга/муфты | Тип фитинга | Угол фитинга |
| 802615 | CAST | 30 | -10 | 16 | 5/8 | 5/8 | 32,5 | 350 | Наружная | Стандартный | BSP | прямой |
Характеристики
Бренд
CAST
WP (bar) рабочее давление
350
Размер CH1
30
Размер G фитинги Каст
5/8
Вид резьбы фитинга для РВД
Наружная
Стандарт фитинга/муфты для РВД
Стандартный
Тип фитинга для РВД
BSP
Угол фитинга для РВД
прямой
ID (дюйм)
5/8
DN (услов внут диам рукава, фитингов)
16
DASH размер продукции (рукава, фитинги, TC)
-10
Размер L1 фитинги Каст
32,5
Все характеристики
Отзывы
Отзывов еще никто не оставлял
