Описание
Характеристики
Отзывы
Описание
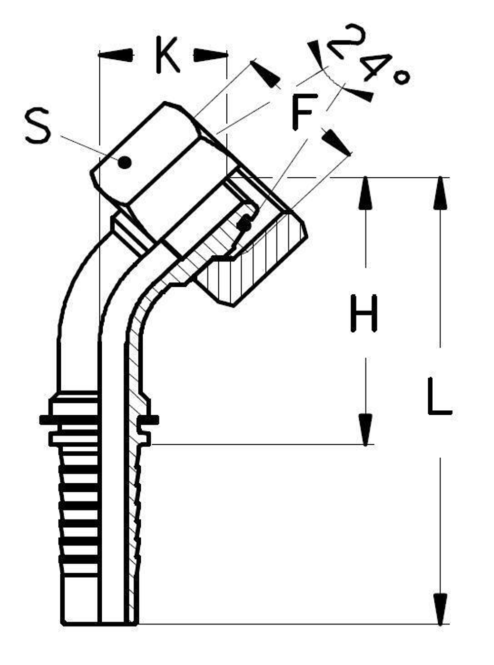
Описание. Фитинг DKO-L с внутренней резьбой и углом 45° предназначен для соединения гидравлических рукавов под углом.
Изготовлен из прочных материалов.
Гарантирует герметичность и долговечность.
DIN 20066 - ISO 12151-2
Характеристики
| Артикул | Бренд | DASH | DN | F | H | ID (дюйм) | K | L | O-Ring | S | WP (bar) | WP (psi) | Вид резьбы | Тип фитинга | Угол фитинга |
| CX08FOS18L45 | TIEFFE | -8 | 12,5 | M26x1.5 | 47 | 1/2 | 21 | 80 | 15x2 | 32 | 210 | 3 000 | Внутренняя | DKO | 45 град. |
Характеристики
Бренд
TIEFFE
WP (bar) рабочее давление
210
Вид резьбы фитинга для РВД
Внутренняя
Тип фитинга для РВД
DKO
Угол фитинга для РВД
45 град.
ID (дюйм)
1/2
Размер S фитинги Тиеффе
32
Размер K фитинги Тиеффе
21
DN (услов внут диам рукава, фитингов)
12,5
Размер H фитинги Тиеффе
47
DASH размер продукции (рукава, фитинги, TC)
-8
Размер L фитинги Тиеффе
80
WP (psi)
3 000
Размер соедин. F фитинги Тиеффе
M26x1.5
Размер O-Ring фитинги Тиеффе
15x2
Все характеристики
Отзывы
Отзывов еще никто не оставлял
