Описание
Характеристики
Отзывы
Описание
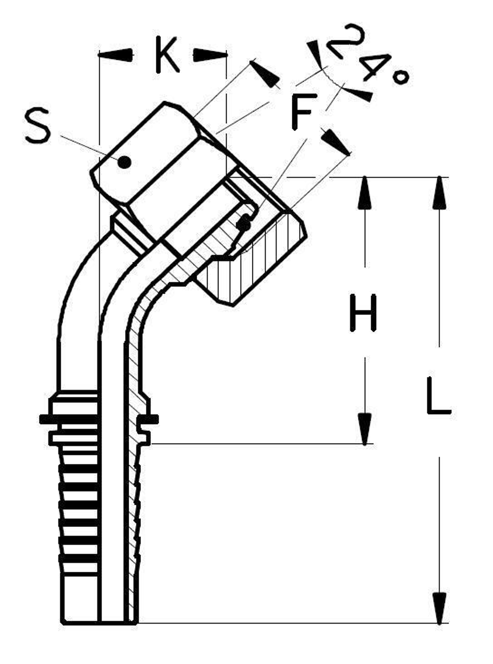
Описание. Фитинг DKO-L с внутренней резьбой и углом 45° предназначен для соединения гидравлических рукавов под углом.
Изготовлен из прочных материалов.
Гарантирует герметичность и долговечность.
DIN 20066 - ISO 12151-2
Характеристики
| Артикул | Бренд | DASH | DN | F | H | ID (дюйм) | K | L | O-Ring | S | WP (bar) | WP (psi) | Вид резьбы | Тип фитинга | Угол фитинга |
| CX08FOS15L45 | TIEFFE | -8 | 12,5 | M22x1.5 | 46 | 1/2 | 19 | 79 | 12x2 | 27 | 280 | 4 000 | Внутренняя | DKO | 45 град. |
Характеристики
Бренд
TIEFFE
WP (bar) рабочее давление
280
Вид резьбы фитинга для РВД
Внутренняя
Тип фитинга для РВД
DKO
Угол фитинга для РВД
45 град.
ID (дюйм)
1/2
Размер S фитинги Тиеффе
27
Размер K фитинги Тиеффе
19
DN (услов внут диам рукава, фитингов)
12,5
Размер H фитинги Тиеффе
46
DASH размер продукции (рукава, фитинги, TC)
-8
Размер L фитинги Тиеффе
79
WP (psi)
4 000
Размер соедин. F фитинги Тиеффе
M22x1.5
Размер O-Ring фитинги Тиеффе
12x2
Все характеристики
Отзывы
Отзывов еще никто не оставлял
