Описание
Характеристики
Отзывы
Описание
Характеристики
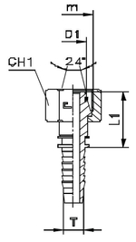
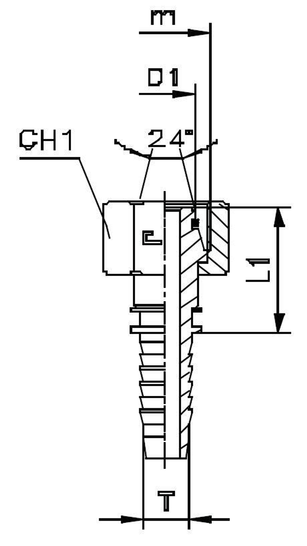
| Артикул | Бренд | CH1 | D1 | DASH | DN | ID (дюйм) | L1 | L2 | WP (bar) | Вид резьбы | М | Угол фитинга |
| 801204 | CAST | 19 | 8S | -3 | 5 | 3/16 | 17 | 46,5 | 415 | Внутренняя | 16x1,5 | 45 град. |
Характеристики
Бренд
CAST
WP (bar) рабочее давление
415
Размер CH1
19
Размер M фитинги Каст
16x1,5
Вид резьбы фитинга для РВД
Внутренняя
Угол фитинга для РВД
45 град.
ID (дюйм)
3/16
DN (услов внут диам рукава, фитингов)
5
DASH размер продукции (рукава, фитинги, TC)
-3
Размер L1 фитинги Каст
17
Размер L2 фитинги Каст
46,5
Размер соедин. D1 фитинги Каст
8S
Все характеристики
Отзывы
Отзывов еще никто не оставлял
